“一带一路”高端物流智库
成 都 新 型 智 库
服务咨询电话:
028-65261105 191-6036-6535

从仓储物流REITs看优质物流资产在哪里?

发布时间:2025-05-20    阅读:
2020年4月,中国证监会、国家发展改革委发布《关于推进基础设施领域不动产投资信托基金(REITs)试点相关工作的通知》,开启基础设施REITs试点工作,旨在盘活存量资产,促进基础设施高质量发展,试点工作将仓储物流基础设施类项目列入试点范畴。
 
2024年7月,国家发改委印发了《关于全面推动基础设施领域不动产投资信托基金(REITs)项目常态化发行的通知》,标志着中国特色基础设施REITs正式步入常态化发行的新阶段,为更多优质仓储物流资产通过REITs方式创新投融资机制提供可能。
 

 
不动产投资信托基金(RealEstateInvestmentTrusts,简称“REITs”)是一种通过证券化方式将不动产资产转化为可公开交易的金融产品。投资者通过购买基金份额,间接持有不动产项目的权益,享受租金、运营收益及资产增值带来的分红。
 
我国重点推行基础设施领域的REITs,目前已纳入基础设施REITs申报领域的底层资产类型涵盖交通、能源、市政、生态环保、仓储物流、园区、数字、租赁住房、水利、文旅、消费、养老等领域。其中,仓储物流基础设施要求是“面向社会提供物品储存服务并收取费用的仓库,包括通用仓库项目以及冷库等专业仓库项目”。
 
截至5月15日,全市场已上市66只基础设施REITs,从产品数量分布来看,园区基础设施REITs以17只产品数量居首,交通基础设施REITs产品共有13只位列第二,仓储物流REITs则以9只产品数量位居第三。


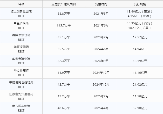
从以上列表不难看出,仓储物流REITs发起人都为行业龙头企业,底层资产都为北上广深成渝鄂杭等一线及新一线城市的核心物流资产,运营时间都超过3年,出租率都达到80%以上,凸显了REITs发行的优质资产门槛。
 

 
在以上32个物流园中,昆山有4个,深圳、武汉各有3个,北京、广州、天津、重庆各有2个,上海、成都、苏州、杭州、无锡、青岛、金华等城市只有1个。宁波、厦门、大连、西安、郑州、长沙等交通枢纽城市在仓储物流REITs发行上有所缺位,具有发掘存量优质资产的空间


从底层资产和发行规模来看,380.8万平仓储物流及配套设施合计募集资金220.79亿元,平均每10万平仓储设施获得融资5.90亿元,反映了市场对优质物流资产的信心。
 
自2024年REITs进入常态化发行阶段后,REITs市场保持扩容态势。物流仓储领域市场化程度较高,比之公路、污水处理、电力、水利等特许经营领域,在运营收益、现金流稳定性等方面仍具有一定差距。
 
物流仓储行业分散性高,规模化优质资产稀缺,市面上要找到符合REITs发行要求“资产具有一定规模、运营收益良好且稳定”的优质物流资产并不容易,预期后续仓储物流REITs发行数量增长有限,可发掘优质资产聚集于宁波、厦门、大连等港口城市和西安、郑州、长沙等内陆区域中心城市。



tag:

中智物流智库——“一带一路”高端物流智库

028-65261105
  • 办公:028-65261105 191-6036-6535
  • 业务咨询电话:191-6036-6535
  • 业务咨询QQ:3072257637
地址(成都中心):
成都市高新区名都路166号嘉煜金融科技中心1幢1单元13A楼03号
中智物流智库微信二维码